বাড়ি পণ্যল্যাব টেস্টিং মেশিন

ISO5659-2 Plastic Smoke Density Tester Lab Testing Machine

সাক্ষ্যদান
চীন DONGGUAN DAXIAN INSTRUMENT EQUIPMENT CO.,LTD সার্টিফিকেশন
চীন DONGGUAN DAXIAN INSTRUMENT EQUIPMENT CO.,LTD সার্টিফিকেশন
ক্রেতার পর্যালোচনা
মেশিনটি কিনে নেওয়ার আগে, আমি দেখতে পাই আমাদের অংশীদার আপনার মেশিনটি ব্যবহার করে, এটি পাওয়ার পর, সব ভাল। ধন্যবাদ, আশা পরের সময় খুব চুক্তি করতে।

—— ম্যাক্স উইল

শুরুতে আমি আপনার কোম্পানিকে সময়মত সরবরাহ করতে পারি কিনা সে বিষয়ে আমি উদ্বিগ্ন, এটি আপনার কোম্পানির ভাল, কোন বিলম্ব দেখায়

—— পিটার হুয়াং

চমৎকার সহযোগিতা! আমরা আমাদের প্রকল্পের উপর আপনার কোম্পানির ধরনের সমর্থন জন্য প্রশংসা। খুব ভাল সেবা।

—— জনাব হুসেন

পেশাগত উদ্ধৃতি, পেশাদার প্রযুক্তি, যাতে আমরা সময়মত পণ্য পাই, বিশ্বাসযোগ্য উদ্যোগ। আশা করি আমরা পরের বার সহযোগিতা করতে পারি!

—— মিঃ পল গ্যারি

তোমার দর্শন লগ করা অনলাইন চ্যাট এখন

ISO5659-2 Plastic Smoke Density Tester Lab Testing Machine

ISO5659-2 Plastic Smoke Density Tester Lab Testing Machine
ISO5659-2 Plastic Smoke Density Tester Lab Testing Machine ISO5659-2 Plastic Smoke Density Tester Lab Testing Machine ISO5659-2 Plastic Smoke Density Tester Lab Testing Machine ISO5659-2 Plastic Smoke Density Tester Lab Testing Machine ISO5659-2 Plastic Smoke Density Tester Lab Testing Machine

বড় ইমেজ :  ISO5659-2 Plastic Smoke Density Tester Lab Testing Machine

পণ্যের বিবরণ:
উৎপত্তি স্থল: চীন
পরিচিতিমুলক নাম: DAXIAN
সাক্ষ্যদান: ISO9001
মডেল নম্বার: DX8368
প্রদান:
ন্যূনতম চাহিদার পরিমাণ: একটি সেট
মূল্য: 2000USD
প্যাকেজিং বিবরণ: কাঠের কেস
ডেলিভারি সময়: 8-10 কাজের দিন
পরিশোধের শর্ত: এল/সি, টি/টি, ডি/এ, ডি/পি, টি/টি, ওয়েস্টার্ন ইউনিয়ন, মানিগ্রাম
যোগানের ক্ষমতা: প্রতি মাসে পাঁচ সেট

ISO5659-2 Plastic Smoke Density Tester Lab Testing Machine

বিবরণ
মেশিনের নাম: প্লাস্টিকের ধোঁয়া ঘনত্ব পরীক্ষক পরীক্ষা: প্লাস্টিক দহন
বাহ্যিক মাত্রা: উচ্চতা 1680 মিমি, প্রস্থ 1450 মিমি, গভীরতা 850 মিমি সরবরাহ: AC220V
গ্যাস: প্রোপেন স্ট্যান্ডার্ড: ISO5659-2
বিশেষভাবে তুলে ধরা:

ISO5659-2 plastic smoke tester

,

lab smoke density machine

,

plastic testing lab equipment

ISO5659-2 Plastic Smoke Density Tester Lab Testing Machine

 

1, Compliant with standards:

Meet the requirements of GB8323.2-2008 "Plastics Smoke Generation Part 2: Single Chamber Method for Determining Smoke Density" and ISO5659.2-2006 "Plastics Smoke Generation Part 2: Single Chamber Method for Determining Optical Density" test standards.

 

2, Scope of application:

Suitable for measuring the specific optical density of smoke generated during plastic combustion, and taking the maximum specific optical density as the test result. It is used to evaluate the smoking performance of plastics under specified conditions.The plastic smoke density tester is a new type of testing equipment developed based on the technical conditions specified in the standard GB/8323.2-2008 and ISO5659-2 "Plastic smoke generation - Part 2: Single chamber method for measuring smoke density".

 

3, Main parameters:

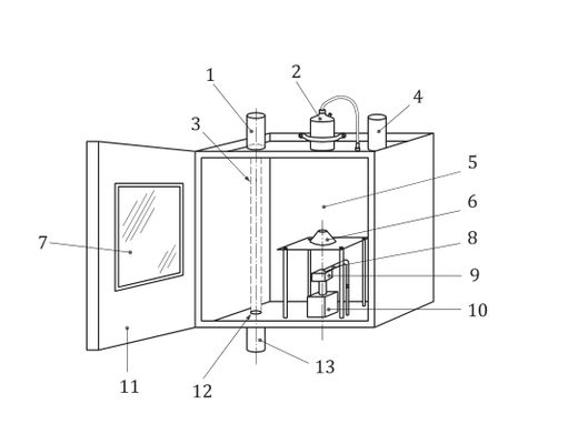
The entire instrument consists of a closed test chamber, a photometer measurement system, a radiation cone, a combustion system, an igniter, a test box, a bracket, a temperature measuring instrument, and smoke density testing software; The circuit is developed using a microcontroller, with high technical content and stable performance. This instrument is suitable for all plastics and can also be used for the evaluation of other materials (such as rubber, textile coverings, painted surfaces, wood, and other materials). It is widely used in production factories and research and testing units in the plastic and solid materials industries.

 

4. Parameters:

(1). Test box: The front door is equipped with a window and an opaque shading plate that can block the movement of the window.
(2). Optoelectronic measurement system: composed of power supply, photomultiplier tube, amplifying transparent plate, optical shutter, filter, neutral transparent plate, lens
The optical system consists of a dark box, a light source, and a light window heater.
(3). Radiation cone: composed of heating elements with a rated power of 2600W, capable of providing at the center of the sample surface
Radiation intensity ranging from 10KW/m2 to 50KW/m2. When testing the radiation illuminance at two other positions 25mm away from the center of the sample
The radiation illuminance at two locations cannot be lower than 85% of the radiation illuminance at the center of the sample.
(4). Igniter: The igniter nozzle is made of a copper tube with a diameter of 4.0mm, and the flame length and horizontal measurement are 30mm.


5. Overall performance:
Transmittance resolution: 0.0001%;
Measurement range: 0-100%; Automatically shift gears during measurement.
Measurement accuracy: ± 3%;
Working voltage: AC200-240V 50Hz;
Environmental humidity: Room temperature -40 ℃
Working environment: When the instrument is running, direct sunlight should be avoided and there should be no forced air flow.
Measurement software: based on WINDOWS XP operating interface and LabVIEW style. Display the transmittance versus time curve. Chinese-English translation
Interface and provide instruction manuals in both Chinese and English.

 

Welcome to visit our factory for sightseeing!

 

Supplier Company Name Daxian Instrument Equipment CO.,Limited
Company Address Changlian Industrial Building, 168 Zhenan West Road, Xiabian Community, Chang'an Town, Dongguan, Guang Dong, China
Contact Person Sophia Su
Tel/ Whatsapp 86-15024082385
Email Daxian02@jiance17.cn

 

ISO5659-2 Plastic Smoke Density Tester Lab Testing Machine 0

 



 

যোগাযোগের ঠিকানা
DONGGUAN DAXIAN INSTRUMENT EQUIPMENT CO.,LTD

ব্যক্তি যোগাযোগ: Sophia Su

টেল: +86-13266221899

আমাদের সরাসরি আপনার তদন্ত পাঠান (0 / 3000)

অন্যান্য পণ্যসমূহ